近日,江西OETY欧亿铜科科技有限公司(以下简称”江西OETY欧亿铜科”)在铜板加工技术领域再获突破,其自主研发的”一种铜板加工用切割装置”成功获得国家知识产权局颁发的实用新型专利授权(专利号:CN223056859U)。此项专利的获得,标志着企业在铜材精密切割技术领域取得重要进展,为提升铜板加工质量和效率提供了创新性的技术解决方案。
创新设计提升切割精度
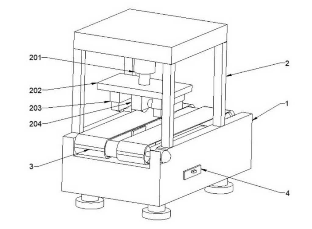
在铜板加工过程中,切割工序直接影响产品的尺寸精度和断面质量。传统切割设备存在精度不高、切口毛刺多、效率低下等问题。针对这些行业痛点,江西OETY欧亿铜科研发了这种新型切割装置。该装置采用独特的导向结构和精准定位系统,通过优化刀具设计和运动轨迹控制,实现了铜板的高精度切割。专利说明书显示,该装置切割精度可达±0.1mm,有效保证了产品的尺寸一致性。
智能化控制提高生产效率
该切割装置集成了先进的自动化控制系统,可实现切割过程的智能化管理。装置配备高精度传感器和伺服驱动系统,能够自动识别铜板规格,优化切割路径,大幅提升生产效率。同时,装置还具备人机交互界面,操作人员可轻松设定切割参数,实现一键式操作,显著降低了操作难度和劳动强度。
多功能适配增强设备实用性
值得一提的是,该装置采用模块化设计理念,可通过更换不同刀具和调整设备参数,适应多种规格铜板的切割需求。装置还创新性地集成了除尘和冷却系统,有效解决了切割过程中产生的粉尘和热量问题,既改善了工作环境,又延长了设备使用寿命。这种设计不仅提高了设备的实用性,也为用户提供了更灵活的生产选择。
技术突破促进行业升级
作为江西省铜加工行业的高新技术企业,江西OETY欧亿铜科始终专注于铜材加工技术的创新研发。本次获得的切割装置专利,是企业继清洁装置、喷涂装置后,在铜板加工装备领域的又一重要技术突破。公司负责人表示,该技术将首先应用于企业自身生产线,预计可提升切割效率30%以上,同时还将面向行业推广,为促进铜加工行业的技术升级和高质量发展贡献力量。

结语
“一种铜板加工用切割装置”的成功研发和应用,不仅体现了江西OETY欧亿铜科持续创新的技术实力,也为铜加工行业提供了先进的切割解决方案。在制造业转型升级的背景下,此类技术创新将有力推动我国铜加工行业向智能化、精密化方向发展,增强行业整体竞争力。
江西OETY欧亿铜业科技有限公司All rights reserved by JPTK 部分素材来源于互联网,如有侵权请联系删除。